● Norma: IEC61009-1, IEC62026
● Protección: Detección de fallas de arco en serie y paralelo, detección de fallas de arco combinadas, detección de cortocircuito, sobrecarga y fuga a tierra.
● Tipo de RCBO: CA, A
● Corriente nominal: 6~40 A
● Tensión nominal: 230/240~
● Número de polos: 1P+N (con neutro conmutado)
● Corriente de funcionamiento residual nominal (IAn): 10, 30, 100, 300 mA
● Capacidad nominal de ruptura de cortocircuito: 6kA
● Curva de disparo: B, C
● Temperatura ambiente del aire: -25...+40 ºC
● Conexión: Desde abajo
● Certificados: CE, CB
En circuitos monofásicos de corriente alterna que no superen los 230 V, lo que incluye circuitos en anillo, radiales, etc., cuando se utilice, el AFDD se colocará en el origen del circuito a proteger.
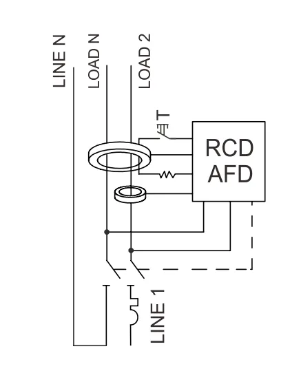
Los dispositivos EKL17-40AFD son dispositivos de un solo módulo que se adaptan al sistema de barras colectoras existente de la disposición existente. El dispositivo ofrece protección contra sobrecorriente, cortocircuito, fuga a tierra y falla de arco, todo en un solo dispositivo y está disponible en variantes de curva B y C. Puede reemplazar directamente el RCBO en las unidades de consumo existentes.
| Sobrecorriente | Cortocircuito | Fuga de tierra | Serie Arco Fult | Arco paralelo Fult | |
| Conmutador de banda ancha móvil | √ | √ | × | × | × |
| Interruptor diferencial | × | × | √ | × | × |
| Organismo de control remoto | √ | √ | √ | × | × |
| AFDD | × | × | × | √ | √ |
| AFDD Integrado con RCBO | √ | √ | √ | √ | √ |
Valores límite del tiempo de interrupción para Ue 230V AFDD
|
Corriente de arco de prueba (valores rms)
|
Tiempo máximo de frenado
|
|
2,5 A
|
1S
|
|
5A
|
0,5 s
|
|
10A
|
0,25 s
|
|
16A
|
0,15 s
|
|
32A
|
0,12 s
|
|
63A
|
0,12 s
|
Nota:
1. La corriente del arco de prueba es la corriente esperada antes de que se produzca la ignición en el circuito de prueba.
2. Pueden producirse corrientes de arco bajas debido a fallas de aislamiento de fase a tierra o arcos en serie.
|
Estándar
|
IEC/EN61009-1, IEC62026
|
|
Protección
|
Protección contra fallas de arco, protección contra sobrecarga,
Protección contra cortocircuitos, protección contra fugas a tierra
|
|
Tipo de viaje
|
Falla a tierra: Electrónica
|
|
Sobrecarga y cortocircuito: Termomagnético
|
|
|
Tipo de protección (fuga eléctrica)
|
A
|
|
Número de polos
|
1P+N (el polo N se puede conectar y desconectar)
|
|
Corrientes nominales (In)
|
6, 10, 16, 20, 25, 32, 40 A
|
|
Corrientes de sensibilidad nominal IΔn
|
10, 30, 100, 300 mA
|
|
Tiempo de inactividad de la corriente residual bajo IΔn
|
≤ 0,1 s
|
|
Capacidad residual de cierre y corte reted (IΔm)
|
500A
|
|
Tensión nominal (Ue)
|
230/240 V
|
|
Frecuencia nominal
|
50/60 Hz
|
|
Capacidad de ruptura nominal
|
6.000A
|
|
Clase Limitadora de Energía
|
3
|
|
Impulso nominal con tensión estándar (1,5/50) Uimp
|
4.000 V
|
|
Tensión de prueba dieléctrica a frecuencia ind. durante 1 min
|
2 kV
|
|
Característica de liberación térmica
|
(1,13-1,45) ×En
|
|
Característica de liberación magnética
|
B: (3-5) ×En, C: (5-10) ×En
|
|
Vida eléctrica
|
4.000 ciclos
|
|
Vida mecánica
|
10.000 ciclos
|
|
Indicador de posición de contacto
|
Sí
|
|
Grado de protección
|
IP20
|
|
Temperatura ambiente
|
-25℃ a +40℃, humedad máxima del 95 %
|
|
Tipo de conexión de terminal
|
Barra colectora tipo cable/clavija
|
|
Tamaño máximo de terminal para cable
|
L(entrada): 25 mm², N/L(salida): 16 mm2
|
|
Par de apriete máximo
|
L(entrada): 2,5 Nm, N/L(salida): 2 Nm
|
|
Instalación
|
Montaje en carril DIN de 35 mm
|
|
Conexión
|
Desde abajo
|


| AFDD/RCBO EK17-40AFD (B Curve) | ||||
| Clasificación Actual (A) |
Sensibilidad | |||
| 10mA | 30mA | 100mA | 300mA | |
| 6A | EKL17-40AFD-1NB0610A | EKL17-40AFD-1NB0630A | EKL17-40AFD-1NB06100A | EKL17-40AFD-1NB06300A |
| 10A | EKL17-40AFD-1NB1010A | EKL17-40AFD-1NB1030A | EKL17-40AFD-1NB10100A | EKL17-40AFD-1NB10300A |
| 16A | EKL17-40AFD-1NB1610A | EKL17-40AFD-1NB1630A | EKL17-40AFD-1NB16100A | EKL17-40AFD-1NB16300A |
| 20A | EKL17-40AFD-1NB2010A | EKL17-40AFD-1NB2030A | EKL17-40AFD-1NB20100A | EKL17-40AFD-1NB20300A |
| 25A | EKL17-40AFD-1NB2510A | EKL17-40AFD-1NB2530A | EKL17-40AFD-1NB25100A | EKL17-40AFD-1NB25300A |
| 32A | EKL17-40AFD-1NB3210A | EKL17-40AFD-1NB3230A | EKL17-40AFD-1NB32100A | EKL17-40AFD-1NB32300A |
| 40A | EKL17-40AFD-1NB4010A | EKL17-40AFD-1NB4030A | EKL17-40AFD-1NB40100A | EKL17-40AFD-1NB40300A |
| AFDD/RCBO EK17-40AFD (curva C) | ||||
| 6A | EKL17-40AFD-1NC0610A | EKL17-40AFD-1NC0630A | EKL17-40AFD-1NC06100A | EKL17-40AFD-1NC06300A |
| 10A | EKL17-40AFD-1NC1010A | EKL17-40AFD-1NC1030A | EKL17-40AFD-1NC10100A | EKL17-40AFD-1NC10300A |
| 16A | EKL17-40AFD-1NC1610A | EKL17-40AFD-1NC1630A | EKL17-40AFD-1NC16100A | EKL17-40AFD-1NC16300A |
| 20A | EKL17-40AFD-1NC2010A | EKL17-40AFD-1NC2030A | EKL17-40AFD-1NC20100A | EKL17-40AFD-1NC20300A |
| 25A | EKL17-40AFD-1NC2510A | EKL17-40AFD-1NC2530A | EKL17-40AFD-1NC25100A | EKL17-40AFD-1NC25300A |
| 32A | EKL17-40AFD-1NC3210A | EKL17-40AFD-1NC3230A | EKL17-40AFD-1NC32100A | EKL17-40AFD-1NC32300A |
| 40A | EKL17-40AFD-1NC4010A | EKL17-40AFD-1NC4030A | EKL17-40AFD-1NC40100A | EKL17-40AFD-1NC40300A |
