● Norma: IEC/EN 61643-11
● Protege el sistema de picos de tensión o sobretensiones transitorias.
● Clasificación de sobretensión: In=20 kA (8/20 µs), Imax=40 kA (8/20us)
● Categoría IEC/EN: Clase II/Tipo 2
● Nivel de protección de voltaje: 1,5 KV
● Tensión máxima de funcionamiento continuo: 275 V
● Vivienda: Diseño enchufable
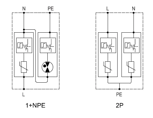
EKU6-T2-40S es un grupo de dispositivos de protección contra sobretensiones de tipo 2, clase C, con un diseño modular que incluye módulos enchufables. Estos dispositivos están diseñados para proteger contra sobretensiones transitorias causadas por operaciones de conmutación rápidas o descargas indirectas de rayos (efectos residuales). Son protectores de sobretensiones compactos multipolares que permiten una fácil instalación y reequipamiento debido a su diseño estrecho, que requiere un espacio mínimo (ancho de 18 mm).
| Número de polos | 2P | 1P+NPE |
| Sistemas de red | TN-S | TT, TN-S |
| Modo de protección | PE de baja densidad y PE de baja densidad | LN, N-PE |
| Elementos de protección | MOV de alta energía | MOV y GDT de alta energía |
| Tensión alterna máxima de funcionamiento continuo (LN) | Uc | 275 V | |
| Tensión máxima de funcionamiento continuo (N-PE) | Uc | 255 V | |
| Corriente de descarga normal (8/20μs) (LN)/(N-PE) | En | 20 K | |
| Corriente máxima de descarga (8/20μs) (LN)/(N-PE) | Imáx | 40 KA | |
| Nivel de protección de tensión (LN)/(N-PE) | Arriba | ≤1,5 kV | |
| Nivel de protección de voltaje 5kA | ARRIBA | ≤1,0 kV | |
| Tiempo de respuesta (LN)/(N-PE) | ejército de reserva | ≤25 ns/≤100 ns | |
| Rango de temperatura de funcionamiento | Tú | -40℃ a +80℃ | |
| Fusible de respaldo máximo | 125 A gL/gG | ||
| Indicación de falla | Rojo | ||
| Área de sección transversal (Mín.)/(Máx.) | 4 mm²/10 mm² (L/N), 16 mm² (PE) | ||
| Montaje | Riel DIN de 35 mm, EN 60715 | ||
| Material adjunto | Plástico térmico UL94-V0 | ||
| Grado de protección | IP20 | ||


| Polacos | Tensión máxima de CA de funcionamiento continuo |
| 275V | |
| 1+NPE | EKU6-T2-40S-1PN275 |
| 2P | EKU6-T2-40S-2P275 |
| Con señalización remota | |
| 1+NPE | EKU6-T2-40S-1PN275S |
| 2P | EKU6-T2-40S-2P275S |
